Разделы
Материалы

Apple представила общественности гаджет с новой технологией экрана

На сайте патентного ведомства США появилась заявка Apple, где описан гаджет, обернутый AMOLED-дисплеем, сделанным в виде единой конструкции из стекла. Изображения из документа, наглядно показывающие концепцию футуристического девайса, опубликовал AppleInsider.

По словам комментатора техноблога Techcrunch, это один из "самых волнующих патентов Apple, которые появлялись за последнее время, так как он показывает по существу полностью и заново переосмысленные смартфоны на iOS следующих поколений".

Тем не менее, подобная технология едва ли окажется рациональной, а расходы батареи гаджета могут стать колоссальными.

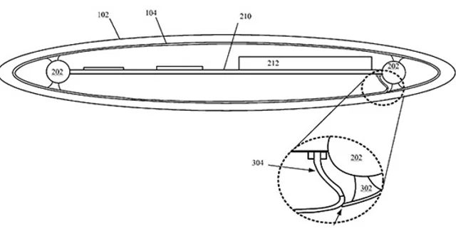
Так, в патентной заявке корпорации показано несколько версий дизайна устройства с непрерывной поверхностью, целиком состоящей из сенсорного экрана.

Подобная модель даст возможность уменьшить размеры гаджета, не теряя при этом места для экрана. Отмечается, что в некоторых вариантах речь идет о съемных разъемах, которые дают возможность подключить к этому изобретению другие устройства.

Инновационный дисплей также сможет быть пользовательским интерфейсом, как и во многих других современных устройствах. Кнопок и переключателей на девайсе нет. Вместо них необходимы жесты, которые заменяют опции громкости и блокировки.

Отмечается, что проблемой такого дисплея, закрывающего почти все устройство, может оказаться то, как гаджет будет понимать, на какие прикасания пользователя нужно реагировать, а на какие нет. В заявке предлагают с помощью встроенных камер и системы распознавания лица обнаруживать, на какой стороне показывать изображение, а где нужно понимать движения.

Добавим, что впервые концепт смартфона, вся поверхность которого является одним сенсорным экраном, предложил еще в 2011 году дизайнер Яркко Сайнамяки, сотрудник исследовательского подразделения Nokia.

Ранее сообщалось, что в iPhone обнаружили больше уязвимостей, чем на смартфонах других платформ.

По материалам NEWSru.com