Apple запатентовала складывающийся iPhone
Гаджет сможет сгибаться в обе стороны
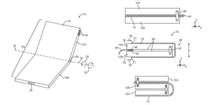
Компания Apple запатентовала iPhone с гибким экраном.
Об этом сообщает Gizchina.
В документе описаны разного рода шарнирные механизмы, которые являются частями складного гаджета.
Согласно патенту, гибкий дисплей должен быть установлен на корпусной части, перекрывающей шарнир. Когда части корпуса устройства будут вращаться друг относительно друга, он сможет сгибаться.
Исходя из опубликованных чертежей, гаджет сможет сгибаться в обе стороны.
- ЧИТАЙТЕ ТАКЖЕ: Раритетный Apple-1 продали за $375 тысяч
Однако маловероятно, что в ближайшей перспективе устройство будет выпущено. Ожидается, что производитель изначально посмотрит на реакцию, которой будут сопровождаться выпуски аналогичных гаджетов от компаний-конкурентов.
Напомним, эксперты посчитали, сколько нужно работать на новый iPhone в разных странах.