Apple запатентовала смартфон с экраном, опоясывающим весь корпус устройства

Фото из открытых источников
Фото из открытых источников

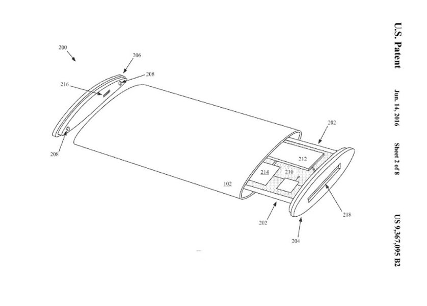
Дисплей занимает лицевую и заднюю панели, а также боковые секции

Ведомство по патентам и товарным знакам США (USPTO) зарегистрировало патент компании Apple на смартфон, весь корпус которого будет представлять собой изогнутый сенсорный дисплей. Об этом сообщает "Популярная механика".

Когда в 2007 году вышел первый iPhone, многие производители еще экспериментировали с дизайном телефонов, выпуская "раскладушки", "слайдеры", "флипы" и даже экзотические "ротаторы". Теперь де-факто стандартом для смартфонов является безликий "кирпичик" с сенсорным экраном на лицевой панели и кнопками на боковых гранях.

Компания Samsung первой решилась "растянуть" дисплей в ширину на модели Galaxy Edge, но Apple, похоже, собирается пойти дальше и выпустить смартфон, представляющий собой, фактически, один большой сенсорный дисплей.

Відео дня

Согласно патентной заявке, сенсорный дисплей буквально опоясывает смартфон, занимая не только лицевую, но и заднюю панели, а также боковые секции. Таким образом, Apple надеется расширить функциональные возможности на все поверхности устройства и лишить его физических кнопок. Предполагается, что расширение экрана в ширину позволит также размещать на нем не четыре, а пять иконок в ряд. Превратится ли патент в будущий iPhone, покажет время.

Схемы смартфона-"экранофона"

Фото: pdfpiw.uspto.gov