Запатентован плавающий автомобиль со втягивающимися колесами

Амфибия Sea Lion / Фото: YouTube
Амфибия Sea Lion / Фото: YouTube

Кузов авто будет выполнен по схеме катера с водорезом на носу и плоским днищем

Японская компания Yamaha получила патент на изобретение амфибийного автомобиля с убирающимися в кузов колесами. Об этом сообщает N+1 со ссылкой на Autoguide.

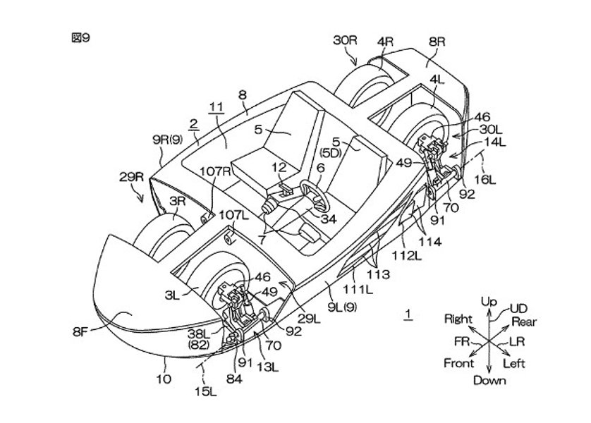
Патент описывает конструкцию механизма втягивания, установка которого не потребует увеличения ширины плавающего автомобиля по сравнению с шириной обычных современных легковых автомобилей.

Сегодня существует несколько типов плавающих легковых автомобилей, выпускаемых ограниченными партиями. Это, например, американские Sea Lion, Aquada и Panther. Все эти машины не имеют полностью убирающихся в кузов колес. Сами колеса и их арки при быстром ходе по воде создают сильное сопротивление, вынуждающее двигатель для его преодоления тратить больше топлива.

Відео дня

С задачей уменьшения водяного сопротивления разные разработчики в целом борются одинаково. Так, Sea Lion и Aquada в воде поднимают колеса вверх и наклоняют их. Panther имеет на днище небольшой редан, то есть ступеньку, на которой он немного приподнимается на воде при быстром плавании. Колеса машины поднимаются чуть выше линии редана. Во всех случаях колесные арки остаются открытыми.

Yamaha намерена разработать механизм, который при убранных колесах будет полностью закрывать колесные арки. В амфибийном режиме колесные арки будут сливаться с корпусом. Сам механизм представляет собой четыре кронштейна по одному на каждое колесо. Одним концом эти кронштейны будут прикреплены к раме машины. При этом кузов автомобиля над и под каждым из колес получит открывающиеся крышки.

Предполагается, что автомобиль сможет заезжать с берега в воду, после чего в кузове будут откидываться крышки, открывая отсеки для колес. Затем приводы будут поворачивать кронштейны колес вверх и в сторону кузова на 180 градусов вокруг точек крепления к раме. После того, как колеса окажутся в отведенных для них отсеках, крышки закроются.

Судя по схематичным изображениям, кузов автомобиля будет выполнен по схеме катера с водорезом на носу и плоским днищем. Другие технические подробности о запатентованном автомобиле не уточняются. Из описания известно только, машина получит бензиновый двигатель внутреннего сгорания и водометный движитель для хода по воде. Тип движителя не уточняется.

Схематичное изображение амфибийного автомобиля

Фото: Yamaha

Плавающие легковые автомобили были крайне популярны в 1950-1960-х годах. Тогда многие крупные производители разрабатывали и в небольших количествах выпускали подобные машины. Так, в 1961-1968 годах немецкая компания Quandt Group производила кабриолеты-амфибии Amphicar с неубираемыми колесами. Такие машины нужно было регистрировать и как обычную машину, и как катер. В 1970-х годах интерес разработчиков к плавающим машин начал резко угасать. Дело в том, что хотя такие автомобили и вызывали восторг публики на выставках, реальные их продажи были невысоки.