Будущие автомобили Volvo получат необычный гибкий спойлер (фото)

Volvo, Антикрыло, Гибкое антикрыло, Авто, Автомобили, Фото, Патент, Технологии, Разработки
Такое антикрыло позволит проезжать повороты на более высокой скорости | Фото: CarBuzz

Антикрыло состоит из нескольких элементов, некоторые из которых являются подвижными. Конструкция может менять свою форму и направление в зависимости от ситуации на дороге.

Volvo запатентовали необычное гибкое антикрыло для увеличения прижимной силы. Такая технология может появиться на будущих автомобилях бренда. Об этом рассказали на сайте CarBuzz.

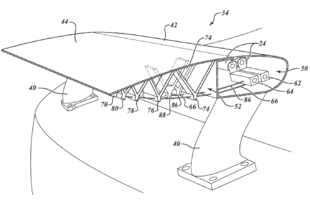
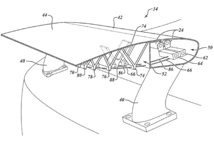
В Ведомстве по патентам и товарным знакам США обнаружили необычный патент от Volvo. В нем описана конструкция антикрыла с подвижными элементами.

Антикрыло состоит из приводных тросов, гибкой секции и приводного мотора. Гибкая секция содержит подвижную поверхность и элементы рамы, которые подключены к приводу.

Volvo гибкое антикрыло
В конструкции применяется сразу несколько интересных решений
Фото: USPTO

Антикрыло может оставаться в нейтральном положении с малым лобовым сопротивлением. При включении приводного мотора тросы тянут элементы рамы, переводя конструкцию в изогнутое вертикальное положение.

Відео дня
Volvo гибкое антикрыло
Антикрыло состоит из множества подвижных элементов
Фото: USPTO

В конструкции используется множество Y- и V-образных элементов. Они способны менять свою форму и направление, распределяя воздушный поток.

Важно
Ford изобрел инновационные колесные диски для безвоздушных шин (фото)
Ford изобрел инновационные колесные диски для безвоздушных шин (фото)

Антикрыло будет получать информацию от навигационной системы и нескольких внешних датчиков. Это позволит оперативно менять положение конструкции для генерации большей прижимной силы.

Ранее Фокус сообщал, что Honda запатентовали необычные спиральные выхлопные трубы, которые повышают эффективность двигателя.