Ford изобрел инновационные колесные диски для безвоздушных шин (фото)

Ford, Ford Mustang, Шины, Колеса, Колесные диски, Патент, Технологии, Безвоздушные шины, Фото
В Ford придумали оригинальную конструкцию колесных дисков | Фото: CarBuzz

Разработка Ford поможет оптимизировать колесные диски под безвоздушные шины. В патенте описывается необычная конструкция, в которых спицы являются гибким элементом.

В Ford запатентовали уникальные колесные диски, разработанные специально для безвоздушных шин. Их конструкция сильно отличается от традиционных колес. Об этом рассказали на сайте CarBuzz.

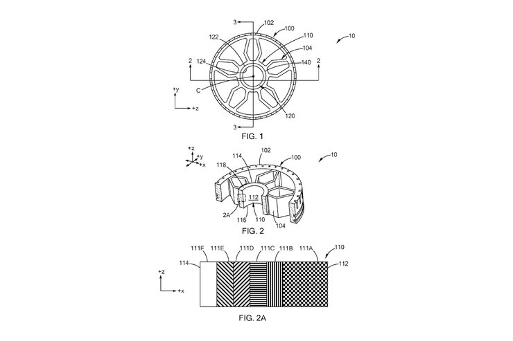
В Управлении по патентам и товарным знакам США опубликовали патент, в котором описываются колесные диски для безвоздушных шин. В Ford работают над этой технологией.

Сейчас разработкой безвоздушных шин занимаются компании Michelin и Goodyear. Они уже демонстрировали свои технологии публике.

В Ford решили изменить конструкцию колесных дисков, чтобы оптимизировать их для безвоздушных шин. Это позволит быстро менять шины при необходимости.

Відео дня
Колесные диски для безвоздушных шин Ford
Спицы в колесных дисках будут гибким элементом
Фото: USPTO

В патенте описывается необычная конструкция колесных дисков, в которых спицы являются гибким элементом. Тем не менее они сохранят жесткость благодаря сердцевине.

Важно
Ford изобрел резервную батарею на крыше для электромобилей (фото)
Ford изобрел резервную батарею на крыше для электромобилей (фото)

Спицы будут поглощать удар, тем самым снижая вероятность повреждения шины. В Ford уверены, что такая технология может найти массовое применение уже в ближайшие годы.

Ранее Фокус сообщал, что Honda запатентовали необычные спиральные выхлопные трубы, которые повышают эффективность двигателя.