Ford изобрел резервную батарею на крыше для электромобилей (фото)

Ford, Ford Bronco, Патент, Технологии, Запас хода, Фото, Разработки, Электромобили, Электрокар, Зарядка, Батарея
В патенте представлена электрическая версия внедорожника Bronco | Фото: Ford

Резервная батарея может быть установлена перед поездкой и пригодится в местности, где нет зарядных станций. Блок с аккумулятором будет защищен от влаги и перегрева.

Ford запатентовал технологию, которая позволяет разместить резервную аккумуляторную батарею на крыше. Это позволит увеличить запас хода электромобилей. Об этом рассказали на сайте Motor1.

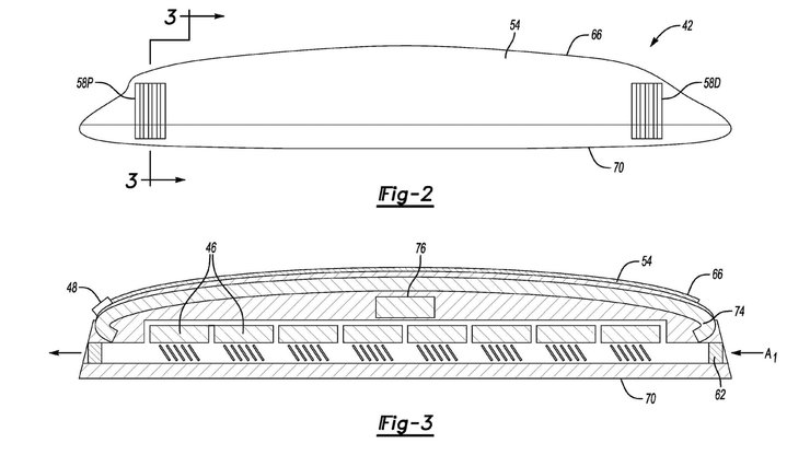
В Ведомстве США по патентам и товарным знакам заметили патент, в котором представлен внедорожник в стиле Ford Bronco с необычным багажником на крыше. В него вмонтирована аккумуляторная батарея с зарядным устройством.

Батарея Ford патент
Резервная батарея позволит увеличить запас хода
Фото: USPTO

В патенте сказано, что резервная батарея может быть установлена перед поездкой. Это может пригодиться в местности, где нет зарядных станций.

Ford планирует оснастить блок на крыше воздуховодами, которые будут охлаждать аккумуляторную батарею. Они будут оснащены дистанционно управляемыми клапанами, чтобы обеспечить защиту от влаги.

Відео дня
Батарея Ford патент
Резервная батарея будет защищена от влаги и перегрева
Фото: USPTO

Корпус аккумуляторной батареи хотят изготовить из пенополиуретана. Это может помочь регулировать уровень тепловой энергии внутри корпуса.

Важно
Honda изобрела спиральную выхлопную систему для повышения эффективности авто (фото)
Honda изобрела спиральную выхлопную систему для повышения эффективности авто (фото)

Резервную батарею можно заряжать так же, как и электромобиль. Достаточно воспользоваться заводским шнуром для зарядки и подключить его к зарядной станции.

Ранее Фокус сообщал, что Hyundai запатентовали революционные автомобильные колеса, которые способны менять свою форму.