Porsche изобрели инновационный глушитель для улучшения аэродинамики авто (фото)

Porsche, Porsche 911, Глушитель, Выхлопная система, Патент, Патенты, Технологии, Аэродинамика, Фото
Технология может появиться на новом Porsche 911 | Фото: CarBuzz

Глушитель также одновременно будет выполнять роль заднего диффузора. Это положительно скажется на общей аэродинамике автомобиля.

Porsche подали заявку на патент глушителя выхлопной системы, который способен улучшить аэродинамику авто. Эта технология может появиться на спорткаре 911 следующего поколения. Об этом рассказали на сайте CarBuzz.

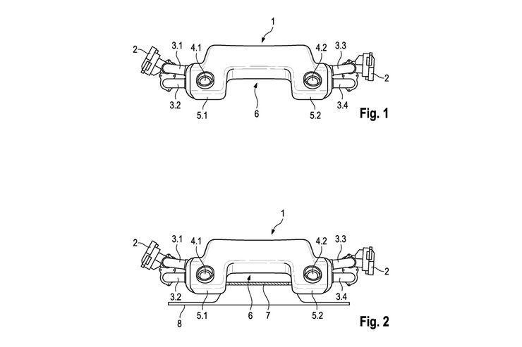
В патенте описывается конструкция глушителя, который одновременно будет выполнять роль заднего диффузора. Для этого он получит аэродинамическую форму.

По задумке, глушитель оснастят элементом, который будет направлять воздух. Благодаря этому можно будет повлиять на прижимную силу спорткара. Элементы воздуховода могут регулироваться вручную или автоматически.

Porsche аэродинамичный глушитель патент
Глушитель сможет направлять воздух
Фото: DPMA

Глушитель, разработанный Porsche, будет иметь углубления или возвышения, предназначенные для обтекаемого направления воздушного потока в области днища авто к задней части. Такую технологию можно применить на разных выхлопных системах.

Відео дня
Важно
Ford изобрел инновационные колесные диски для безвоздушных шин (фото)
Ford изобрел инновационные колесные диски для безвоздушных шин (фото)

Эта технология пока находится на раннем этапе проектирования. Инженерам предстоит решить многие проблемы, которые могу возникнуть во время производства.

Ранее Фокус писал, что Honda запатентовала необычные спиральные выхлопные трубы, которые повышают эффективность двигателя.