Підтримайте нас

МИ В СОЦМЕРЕЖАХ:

Ford винайшов незвичайні протисонцеві козирки, які можуть розбивати скло (фото)

Протисонцевий козирок, Ford, Авто, Автомобілі, Патент, Патенти, Технології, Скло, Фото
Протисонцеві козирки Ford можуть врятувати життя водія та його пасажирів | Фото: Ford

Майбутні автомобілі Ford планують оснастити протисонцевими козирками з незвичайною конструкцією. Вони дадуть змогу швидко розбити скло в разі ДТП.

Ford запатентував нову технологію для своїх автомобілів. Автовиробник планує оснастити деякі моделі протисонцевими козирками, які можуть розбивати скло. Про це розповіли на сайті Motor1.

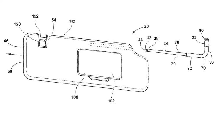
У патенті описується інноваційний протисонцевий козирок. Він встановлений на металевому стрижні, який дає змогу повертати його при потребі.

Протисонцевий козирок Ford
Зовні протисонцевий козирок Ford не матиме відмінностей
Фото: USPTO

Протисонцевий козирок можна зняти, щоб дістати металевий стрижень. З одного з його боків є загострений наконечник, яким можна легко розбити скло.

Протисонцевий козирок Ford
Протисонцеві козирок кріпиться до металевого стрижня
Фото: USPTO

Зазвичай інструменти для розбивання скла мають форму невеликого молотка. Проте в Ford вирішили піти іншим шляхом.

Важливо
Honda винайшла спіральну вихлопну систему для підвищення ефективності авто (фото)
Honda винайшла спіральну вихлопну систему для підвищення ефективності авто (фото)

У патенті нічого не сказано про захист від випадкового контакту з лобовим склом. Попри це, такий інструмент може стати в пригоді в разі ДТП з перекиданням авто.

Відео дня

Раніше Фокус писав, що в Ford запатентували унікальні колісні диски для автомобілів, розроблені спеціально для безповітряних шин.

Також ми повідомляли, що Porsche подали заявку на патент глушника вихлопної системи, який здатний поліпшити аеродинаміку авто.