Підтримайте нас

МИ В СОЦМЕРЕЖАХ:

Honda винайшла спіральну вихлопну систему для підвищення ефективності авто (фото)

Вихлоп, Honda, Вихлопна система, Технології, Розробки, Фото, Авто, Автомобілі, Патент
Рішення Honda допоможе підвищити ефективність автомобіля | Фото: CarBuzz

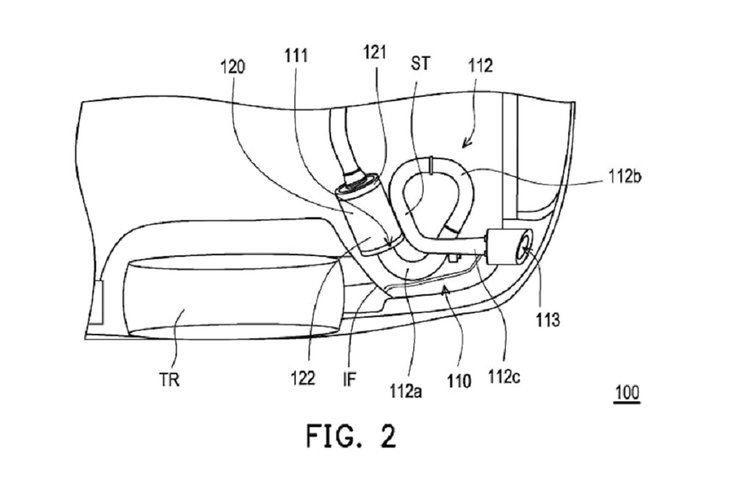
У патенті описано принцип роботи вихлопної спіральної труби. Ця технологія спрямована на зниження ваги загальної конструкції вихлопної системи.

Honda запатентували незвичайні вихлопні спіральні труби, які підвищують ефективність двигуна. Про це повідомили на сайті CarBuzz.

У Відомстві з патентів і товарних знаків США виявили заявку на технологію спіральної вихлопної системи Honda. Патент було подано 30 березня 2023 року.

У патенті описується технологія, де ділянка вихлопної труби закручується вертикально вгору перед виходом із заднього бампера. Сам глушник розташований далеко від традиційного центрального положення під кузовом. Це допоможе знизити вагу конструкції.

Вихлоп Honda
Одна з ділянок вихлопної труби закручується вертикально вгору перед виходом із заднього бампера
Фото: USPTO

Дизайн Honda передбачає розташування глушника далеко від зовнішніх панелей автомобіля. Так інженери хочуть захистити вихлопну систему від зовнішніх факторів.

Відео дня
Важливо
Hyundai створили унікальні автомобільні колеса із захистом від проколу шин (фото)
Hyundai створили унікальні автомобільні колеса із захистом від проколу шин (фото)

Також у Honda працюють над зменшенням шкідливих викидів у своїх автомобілях із ДВЗ. Серед таких рішень може бути встановлення додаткового фільтра у вихлопні системи багатьох моделей.

Раніше Фокус розповів, що Ford зареєстрували патент пристрою, що дозволить заряджати кілька електрокарів одночасно за допомогою однієї зарядки.