Підтримайте нас

МИ В СОЦМЕРЕЖАХ:

Як у шпигунських фільмах: автомобілі Ford отримають захист від підслуховування (фото)

Ford, Ford Kuga, Авто, Автомобілі, Патенти, Технології, Система, Розмови, Фото, Підслуховування
Технологія боротиметься з підслуховуванням приватних розмов | Фото: Ford

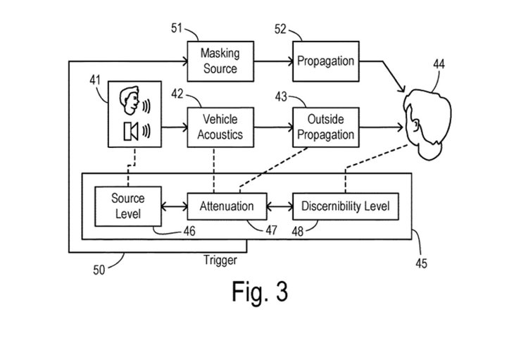
У патенті описана інноваційна технологія, яка може змінювати гучність розмов. Система видаватиме маскувальний звук зовні, щоб перехожі не чули, про що говорять усередині авто.

Ford подала заявку на новий патент, який дасть змогу підвищити конфіденційність майбутніх авто бренду. Технологія боротиметься з підслуховуванням розмов. Про це повідомили на сайті CarBuzz.

У Відомство з патентів і товарних знаків США виявлено патент інноваційного робочого місця в автомобілі. Воно не дасть змоги випадковим перехожим почути розмови водія та пасажирів.

Під час дзвінка в авто система вимірюватиме гучність розмови. Різні датчики фіксуватимуть, чи чути її оточуючим. Якщо перехожий підійде надто близько, то зовні лунатиме маскувальний звук.

Патент Ford підслуховування
При підслуховуванні лунатиме маскувальний звук
Фото: USPTO

Крім цього технологія здатна боротися з підслуховуванням розмов навіть усередині автомобіля. Наприклад, якщо водій і передній пасажир обговорюють щось конфіденційне, але заднім пасажирам не потрібно про це знати. Для цього будуть використовуватися датчики та камери.

Відео дня
Патент Ford підслуховування
Гучність звуку можна буде розподіляти і всередині авто
Фото: USPTO

Система зможе працювати аналогічним чином навіть із телефонними розмовами. За допомогою поділу звуку і машинного навчання, звук може бути спрямований конкретній людині так, щоб інші не почули його.

Важливо
Можливо, у моделях Ford з'явиться люк для дронів: що задумав автовиробник
Можливо, у моделях Ford з'явиться люк для дронів: що задумав автовиробник

Поки що технологія перебуває на ранньому етапі тестування. Проте не виключено, що систему отримають майбутні автомобілі Ford.

Раніше Фокус розповів, що у Ford запатентували унікальні колісні диски, розроблені спеціально для безповітряних шин.