Топливозаправщик на базе "Арматы": в сеть слили чертежи бронетехники (фото)

т-15
Машина будет построена на базе БМПТ 15

Машина по замыслу будет иметь защищенный и обособленный модули с топливом. Бронированный танкер должен доставлять топливо под обстрелами и выдерживать удары дронов-камикадзе.

В российских социальных сетях слили чертежи бронированного танкера на базе платформы "Армата". Об этом сообщает Army Recognition.

Бронированный топливозаправщик построен на базе тяжелой БМП Т-15. Над его созданием работает Военная академия материально-технического обеспечения имени генерала армии А. В. Хрулева. Т-15 является универсальной платформой для РФ, на которой планировали строить не только танк, но и САУ, БМПТ и БТР. Сейчас почти все эти проекты так и не пошли серийно в российскую армию.

Важно
"Армата" никогда не сможет воевать. Почему российский "чудо-танк" так и не появился в действующей армии

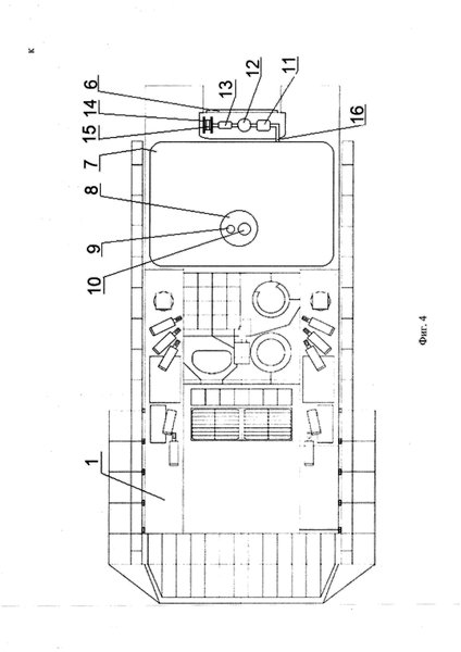
Разработка, которую слили в сеть, должна решить вопрос обеспечения армии топливом на передовой в современных боевых условиях с дронами-камикадзе и обстрелами. Конструкция танкера подробно описывается. Одна из особенностей машины — внутренняя компоновка. Емкости для топлива должны находиться внутри бронированной капсулы, которая отделена от остальной машины. Так же защищен и моторный отсек от остальной части машины. Все должно повысить живучесть машины на поле боя.

Відео дня

Для улучшения бронирования предлагается использовать бронированную сталь с керамическими вставками, чтобы повысить защиту. Когда керамические элементы распадаются, то они создают вибрации внутри бронирования, чтобы перенаправить ударный импульс по всей площади бронирования.

Машину предлагают для использования в ВС РФ и других силовых органах.

Напомним, 12 сентября в РФ заявили, что танки Армата не поступят в армию РФ раньше 2026 года.

20 октября в РФ завершили испытания САУ "Коалиция-СВ", которая якобы будет иметь радиус поражения в 80 км.