Автомобили Ferrari могут получить ракетные двигатели: подробности технологии

Ferrari, Патент, Авто, Автомобили, Фото, Технологии, Патенты, Двигатели, Tesla, Разработки
Ferrari могут использовать свои ракетные двигатели для различных целей | Фото: Ferrari

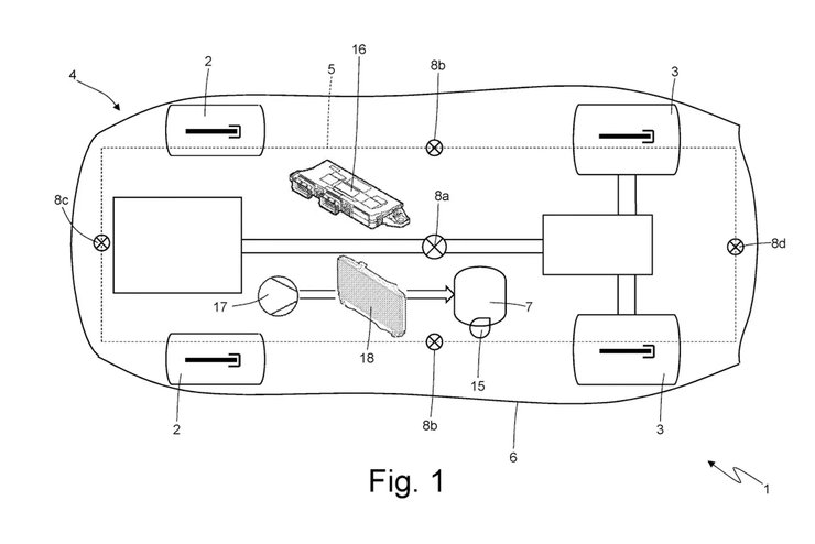
В патенте сказано, что импульсную реактивную систему можно использовать для улучшения ускорения, торможения или управляемости автомобиля. Технология напоминает концепцию Tesla.

Ferrari запатентовали импульсную реактивную систему для увеличения ускорения. Технология напоминает ракетные двигатели, которые планируют устанавливать на Tesla Roadster нового поколения. Об этом сообщили на сайте The Drive.

Новая технология Ferrari позволит ускорить новые модели бренда. Заявка на соответствующий патент была подана еще в 2019 году. Теперь он добавлен в базу данных патентов США.

Ferrari
Патент напоминает технологию, которую будут применять на новом Tesla Roadster
Фото: Ferrari

Ferrari описали концепцию, которая похожа на то, что Илон Маск описывал для пакета SpaceX Tesla Roadster следующего поколения. Итальянцы хотят использовать импульсно-реактивную систему, которая задействует двигатели на сжатом воздухе для более быстрого ускорения.

Відео дня
Ferrari
Систему можно модифицировать в зависимости от ее назначения
Фото: Ferrari

Технологию также можно использовать для улучшения торможения и управления. Для этого баллоны со сжатым воздухом поместят спереди, сзади и по бокам автомобиля.

Важно
Электромобили Ferrari получат генераторы для имитации звуков двигателя
Электромобили Ferrari получат генераторы для имитации звуков двигателя

Система сможет заправлять компрессоры с помощью технологии, прикрепленной к тормозам автомобиля. Это позволит сделать изобретение автономным от других узлов авто.

Ранее Фокус рассказал, что Ford запатентовали технологию, которая позволит автомобилям делать "присед Каролины".