Apple запатентовала радикально новый дизайн своих смарт-часов

Apple Watch, apple, смарт часы, носимая электроника
Apple Watch | Фото: ixbt.com

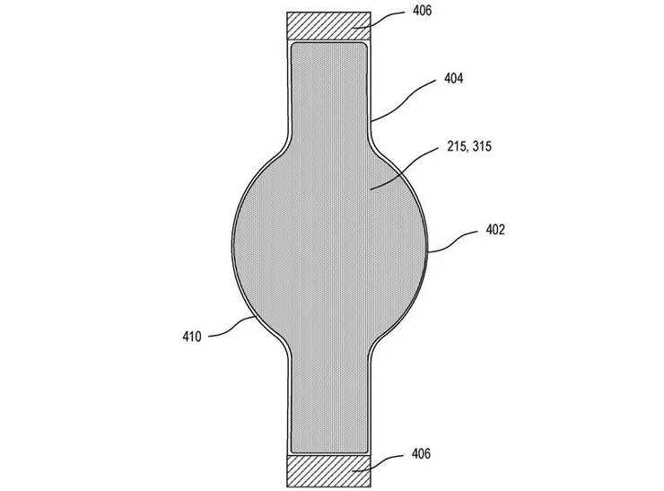
Гибкий дисплей Apple Watch, согласно патенту, будет охватывать и часть ремешка устройства.

Apple может радикально изменить дизайн своих смарт-часов. Согласно новому патенту компании, Apple изучает новую технологию изготовления экрана.

Патент, обнаруженный изданием MacRumors называется "Модуль дисплея и системных приложений" и был подан в Ведомство США по патентам и товарным знакам.

В документе описывается гибкий дисплей часов, который может охватывать не только весь циферблат, но и часть ремешка устройства. Также сказано, что экран обладает "множеством межсоединений" начиная от передней и задней частей корпуса устройства.

Apple Watch, apple, смарт часы, носимая электроника

Кроме того, согласно документам, аккумулятор часов, процессор и другие важные компоненты можно разместить не только в привычной части корпуса но и в ремешке под дисплеем.

Відео дня

Помимо возможности выбора дизайна циферблата, как на текущих моделях Apple Watch, в патенте сказано, что пользователи могут аналогичным образом выбрать дизайн цифрового ремешка, который будет отображаться, используя "менеджер аксессуаров".

Apple Watch, apple, смарт часы, носимая электроника

В документации описывается очень похожая система выбора дизайна ремешка, которая существует в настоящее время для выбора и настройки циферблатов, с возможностью сделать это как на самих Apple Watch, так и на подключенном iPhone.

Напомним, на официальном сайте компании Apple появился раздел на украинском языке. Теперь пользователи могут получить информацию о продуктах и официальных продавцах своей техники в Украине на государственном языке. На данный момент на сайте доступна на украинском языке только часть информации, однако не исключено, что вскоре раздел будет полностью переведен.

Ранее Фокус рассказывал, какие гаджеты этой компании не стоит покупать, тем более, что вскоре будет представлена новая линейка ноутбуков и наушников.