"Внимание! Снимаю!": Nokia создаст смартфон, камера которого реагирует на звуки голоса

смартфон, Nokia, телефон
Фото: androidcentral.com

Новый патент демонстрирует модуль камеры, вращающийся на 360 градусов.

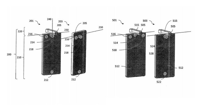
За последние несколько лет мы видели различные реализации модуля камеры на смартфонах: всплывающие, откидные и вращающиеся. А недавно Nokia подала новый патент на вращающийся модуль камеры способный поворачиваться на 360 градусов и расположенный в верхней части смартфона.

Об этом сообщает издание mysmartprice.com.

Объектив камеры будет находиться на одном из краев модуля, слева или справа, и может изменять свое направление в зависимости от источника звука. 

Разработчики интегрируют пару микрофонов, чтобы отслеживать, откуда исходит звук, а вращающийся модуль будет автоматически регулироваться в зависимости от его направления. Микрофоны будут улавливать аудиосигналы и анализировать их, чтобы определить направление источника звука. Модуль будет вращаться в зависимости от направления и генерировать пространственные аудиосигналы на основе измененного направления. 

Відео дня
Патент на смартфон с вращающейся камерой
Патент на смартфон с вращающейся камерой
Фото: mysmartprice.com

Объектив камеры также изменит свое направление и будет указывать на источник звука при съемке видео, например.

Принцип работы модуля камеры

В то время, как производители Android-смартфонов делают все возможное, чтобы максимально увеличить соотношение экрана к корпусу, Nokia отдает предпочтение функциональности камеры. Понятно, что такой вращающийся модуль камеры помешает "раздвинуть границы". Однако это кажется довольно интересной идеей, благодаря которой пользователь сможет вообще не заботиться о регулировке камеры во время записи видео, поскольку данная конструкция способна отслеживать источник звука с помощью микрофонов и вращаться во всех направлениях. 

Ранее мы сообщали о том, что Nokia планирует презентовать смартфон с пятью камерами и дисплеем в 120 Гц. Устройство позиционируется как преемник Nokia 8.3 5G и, вероятно, будет продаваться в среднем ценовом сегменте.