Підтримайте нас

МИ В СОЦМЕРЕЖАХ:

Нові моделі BMW можуть отримати розумну радіаторну решітку з прихованими фарами (фото)

BMW, Патент, Технології, Решітка радіатора, Фото, Знімки, Авто, Автомобілі, Новинки
BMW запатентувала нову передню панель, яка може замінити традиційну решітку радіатора | Фото: CarBuzz

BMW подала новий патент до Світової організації інтелектуальної власності. Технологію можуть одержати майбутні електромобілі бренду.

Компанія BMW запатентувала незвичайний дизайн радіаторної решітки з прихованими фарами. Фото передової розробки опублікував сайт CarBuzz.

Багато фанатів BMW вважають, що на нових автомобілях бренду встановлені надто великі решітки радіатора. Проте компанія не збирається зупинятися на досягнутому.

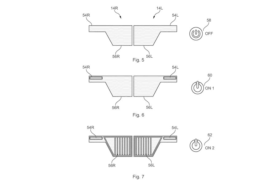
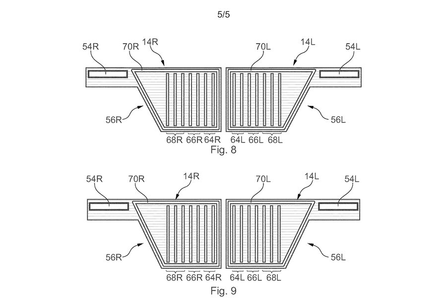
Новий патент від BMW подано до Всесвітньої організації інтелектуальної власності. Він демонструє нову цільну передню панель, яка замінить традиційну решітку радіатора.

Замість того, щоб встановлювати решітку радіатора та фари окремо, у компанії збираються об'єднати їх. Передня панель зможе показувати різні візерунки за допомогою світлодіодних вогнів, а фари заховані доти, доки вони не знадобляться.

Відео дня

Розробка допоможе не тільки урізноманітнити дизайн майбутніх моделей бренду, але й зробити їх обтічнішими. Рівна передня панель забезпечить менший аеродинамічний опір.

Важливо
В BMW 7 Series 2023 теперь можно смотреть футбольные матчи (фото)
В BMW 7 Series 2023 теперь можно смотреть футбольные матчи (фото)

Зовнішній шар панелі буде прозорим і виготовленим із полікарбонату. Всередині встановлять ще один шар із пластику, який ізолює світло, з непроникним покриттям, з'єднаним зі світлодіодним джерелом світла.

Раніше Фокус писав, що BMW планує відкликати 14086 електромобілів i4, i7 та iX через програмний збій.