Підтримайте нас

МИ В СОЦМЕРЕЖАХ:

Mazda готує новий гібридний спорткар з роторним двигуном (фото)

Mazda, Mazda RX-Vision, Роторний двигун, Патент, Гібрид, Авто, Автомобілі, Спорткар, Фото, Технології
Новий спорткар може отримати дизайн у стилі концепту Mazda RX-Vision | Фото: Mazda

Новий спорткар Mazda отримає революційну силову установку з трьома електромоторами та роторним двигуном. Головною особливістю моделі стане продумана конструкція з незвичайними інженерними рішеннями.

Mazda розробляють спортивний автомобіль, який отримає роторний двигун. У патенті описано конструкцію силової установки нової моделі. Про це повідомили на сайті The Drive.

Зараз Mazda пропонує лише одну модель з роторним двигуном — гібридний кросовер MX-30 e-Skyactiv R-EV. Новий спорткар буде використовувати цей двигун не для зниження витрати палива, а для підвищення ефективності.

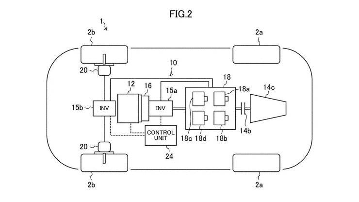
Патент було подано у червні 2021 року та опубліковано 9 травня. У ньому описана конструкція автомобіля з двигуном внутрішнього згоряння, електромотором ззаду та ще двома електромоторами на передніх колесах.

Mazda роторний спорткар
Спорткар отримає три електромотори
Фото: Mazda

У конструкції використовується унікальна акумуляторна система з подвійною напругою. Це дозволить знизити вагу авто, а також забезпечить велику пікову вихідну потужність.

Відео дня

Електромотори отримають різну вихідну потужність. Спереду вони видаватимуть по 23 к.с., а ззаду — 36 к.с.

Велику увагу буде приділено зниженню ваги спорткара. У патенті описано унікальну систему акумуляторів змінної напруги. Батареї будуть встановлені за спинами водія та пасажира.

Mazda роторний спорткар
Акумуляторні батареї зможуть працювати в кількох режимах
Фото: Mazda

Акумуляторні батареї можуть працювати в кількох режимах. На низьких швидкостях вони працюють як звичайні 48-вольтові батареї, а на вищих швидкостях використовуватимуть електричні перемикачі, щоб забезпечити більше потужності.

Важливо
Представлена новая Mazda 3 2024: что изменилось в седане и хэтчбеке (фото)
Представлена новая Mazda 3 2024: что изменилось в седане и хэтчбеке (фото)

Технічні характеристики нової моделі тримають у секреті. Очікується, що потужність силової установки становитиме понад 400 к.с.

Раніше Фокус писав, що Honda запатентували незвичайні вихлопні спіральні труби, які підвищують ефективність двигуна.