Підтримайте нас

МИ В СОЦМЕРЕЖАХ:

Sony вигадала камеру, яка переносить реальні об'єкти у віртуальний простір

віртуальна реальність, VR-гарнітура
Фото: Getty Images

Поки що йдеться лише про патент на пристрій.

Sony подала заявку на патент на сканувальний відеопристрій, який зможе "поміщати" об'єкти реального світу у віртуальну реальність. Уперше компанія звернулася до патентного бюро у червні 2021 року, але тоді в Sony запросили докладнішу інформацію про гаджет. Компанія виконала цю вимогу і тепер очікує на отримання патенту, передає gsmarena.com.

"Патент ще не виданий, але вивчивши технічну документацію, ми дійшли висновку, що нову камеру з функцією 3D-сканера можна буде використовувати для сканування та переміщення отриманих 3D-зображень реальних об'єктів у віртуальний простір із можливістю взаємодіяти з ними згодом", — повідомляє ЗМІ.

Відео дня
Sony, камера, сканер, патент, малюнок
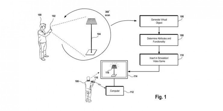
Схематичний малюнок: як працюватиме камера-сканер Sony

Журналісти стверджують, що за допомогою нового пристрою користувачі зможуть сканувати "навіть об'єкти, які набагато більше ніж просто невеликі портативні пристрої". Єдина вимога, пишуть вони, мати можливість сканувати об'єкт на 360 градусів.

"Майте на увазі, що йдеться поки що тільки про патент, тому не варто очікувати швидкої появи гаджета на ринку, адже він може виявитися нереалізованою концепцією", — попереджає медіа.

Раніше ми повідомляли про те, що футуролог поділився своєю думкою щодо того, як розвиватимуться VR-технології найближчими роками.