Підтримайте нас

МИ В СОЦМЕРЕЖАХ:

Батареї смартфонів працюватимуть довше за тих самих розмірів: що придумали розробники

iPhone, смартфон, акумулятор, батарея
Батарея iPhone | Фото: Aliexpress

Інженери Apple прагнуть не тільки збільшити ємність батареї, а й підвищити її загальну ефективність.

Нещодавно компанія Apple отримала патент у Відомстві з товарних знаків і патентів США, згідно з яким акумулятор для iPhone буде вдосконалено. Він отримає значно більшу ємність і довший термін служби, пише Gizchina.

Патент під назвою "Батарейні елементи з виступами під прямим кутом" був представлений у вересні 2021 року і офіційно опублікований 26 березня 2024 року. У своїй патентній документації Apple детально розглядає різні методології збільшення продуктивності акумуляторів. Компанія вивчає сепаратори акумуляторів, складчасті сепаратори і взаємопов'язані компоненти батарей, щоб розширити межі ємності, вийшовши за межі наявних стандартів.

Відео дня
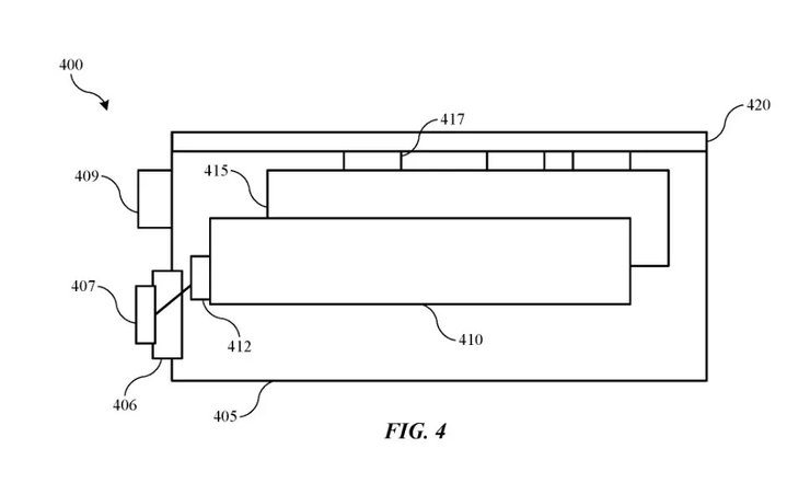
батарея iPhone, малюнок
Схематичне зображення нового акумулятора для iPhone
Фото: Apple

Інноваційний підхід дасть змогу компанії створювати акумулятори для iPhone зі спеціальними роз'ємами, що дають змогу розміщувати батареї під різними кутами для ефективного вирішення просторових обмежень. Завдяки використанню набору роз'ємів із виступами, що виступають у різних напрямках і навіть перпендикулярно до основного напряму, конструкція не тільки оптимізує використання простору, а й підвищує структурну цілісність акумулятора, що в кінцевому підсумку призводить до підвищення ефективності.

Важливо
Смартфоны становятся все дороже: стоят ли они своих денег на самом деле

Оприлюднення патенту знаменує собою важливу віху на шляху Apple до революції в технології виробництва акумуляторів. Це також створює основу для майбутніх моделей iPhone з більш довговічними батареями. Нові смартфони також збережуть компактний форм-фактор, задовольняючи зростаючі потреби технічно підкованих споживачів.

Раніше ми писали, що інноваційна проточна батарея живитиме цілі міста. Двокамерна проточна система зберегла 98,7% ємності після тисячі циклів зарядки. Вона може довго зберігати енергію і заряджати пристрої в різних масштабах.

Також повідомляли, що стало відомо, який ШІ отримає iPhone 16. Виявилося, що не обійдеться без допомоги Google і Baidu, оскільки Apple не планує створювати власну модель генеративного ШІ для iOS 18.