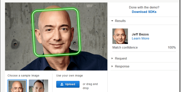
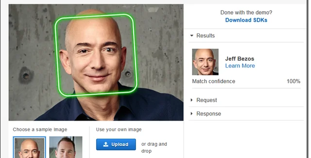
Amazon временно запретила полиции США использовать ее программу для распознавания лиц
Компания рассчитывает на улучшение законодательного регулирования применения подобных систем
Amazon ввела годичный мораторий на использование своего программного обеспечения (ПО) Rekognition для распознавания лиц полицией и другими правоохранительными ведомствами в США.
Компания напомнила, что всегда выступала за то, чтобы национальные правительства ввели более строгие правила для использования систем распознавания лиц. Она считает, что годичный мораторий даст Конгрессу США "достаточно времени для введения соответствующих правил".
В сообщении отмечается, что организации, которые занимаются розыском детей, спасением жертв торговли людьми, воссоединением семей, по-прежнему смогут использовать ПО Amazon Rekognition для своей работы.
Напомним, законопроект о реформе полиции, который запретит использование федеральными правоохранительными органами технологий распознавания лиц в режиме реального времени, 9 июня внесли в парламент конгрессмены от демократической партии.
Существующее ПО для распознавания лиц часто критикуют за ошибки при распознавании лиц афроамериканцев и представителей других национальных меньшинств.
9 июня американская компания IBM объявила о прекращении работы над технологией распознавания лиц, сообщил генеральный директор компании Арвинд Кришна в письме Конгрессу США. Он отметил, что IBM против технологий, используемых "для массового наблюдения и нарушения базовых прав и свобод человека". Компания предложила США отказаться от покупки технологии и у других поставщиков. В IBM также заявили о необходимости начать национальный диалог о том, каким образом нужно применять технологию распознавания лиц в работе правоохранительных органов.
28 февраля Ватикан присоединился к усилиям Microsoft и IBM, которые выступают за этическое развитие искусственного интеллекта (ИИ) и призывают к регулированию таких технологий, как распознавание лиц. По мнению технологических гигантов и католической церкви, ИИ должен уважать частную жизнь, работать надежно и беспристрастно, учитывая права человека.
Как ранее сообщал Фокус:
- Искусственный интеллект нашел мощный антибиотик, убивающий самые опасные болезни. Во время испытаний препарат уничтожил целый ряд устойчивых к антибиотикам штаммов бактерий.
- По данным СМИ, искусственный интеллект спрогнозировал вспышку коронавируса еще 31 декабря. Прогноз был уже за неделю до того, как о новом вирусе узнал весь мир.