Автомобили Ford получат необычный бампер, который может менять форму (фото)

Ford, Ford Bronco, Бампер, Передний бампер, Технологии, Разработки, Авто, Автомобили, Патенты, Фото
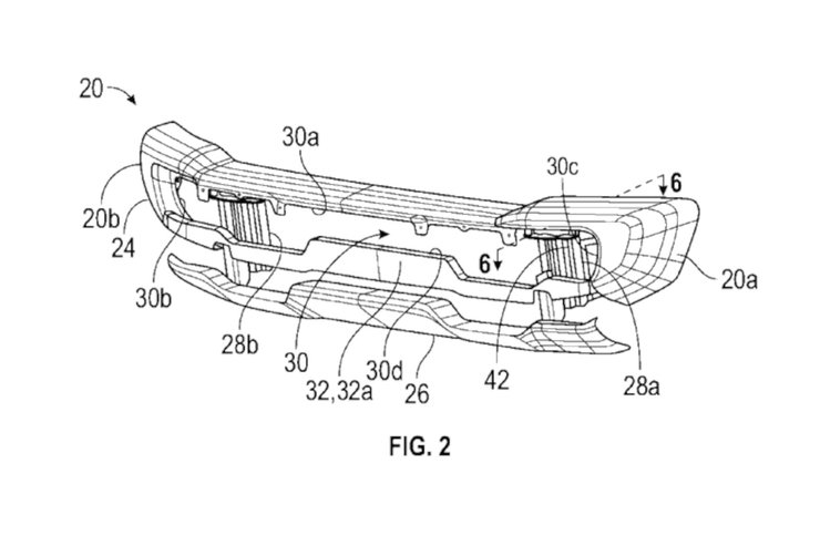
Инновационный бампер Ford поможет решить сразу несколько проблем | Фото: CarBuzz

Инновационный бампер Ford пригодится водителям на бездорожье, а также может спасти жизнь пешеходам. Эту технологию могут получить будущие внедорожники бренда.

В Немецком ведомстве по патентам и товарным знакам обнаружили новый патент компании Ford. В нем описывается необычный передний бампер, который способен менять свою форму. Об этом рассказали на сайте CarBuzz.

Изобретение Ford может помочь во время езды по бездорожью, а также защитить пешеходов от травм. Передний бампер будет способен увеличиваться или уменьшаться в случае необходимости.

В конструкции бампера предусмотрен привод, который позволяет влиять на его положение, а также корпус, винтовая лебедка и другие подвижные элементы. Автомобиль сам сможет определить, когда нужно поднять или опустить бампер при помощи камер или GPS-навигации.

Відео дня
Бампер Ford
Бампер состоит из множества подвижных элементов
Фото: German Patent and Trademark Office

Низкий бампер позволит обезопасить пешеходов в случае ДТП. В высоком положении внедорожник станет более эффективным на бездорожье.

Важно
Ford изобрел инновационные колесные диски для безвоздушных шин (фото)
Ford изобрел инновационные колесные диски для безвоздушных шин (фото)

Пока неизвестно, как именно будет работать эта технология на практике. Сейчас технология находится на начальном этапе разработки.

Ранее Фокус писал, что в Honda запатентовали необычные спиральные выхлопные трубы, которые повышают эффективность двигателя.

Также мы сообщали, что Hyundai запатентовали революционные автомобильные колеса, которые способны менять свою форму.