Підтримайте нас

МИ В СОЦМЕРЕЖАХ:

У Росії розробили гібридний керований дрон-ракету для РСЗВ: що відомо

ракета, російська ракета
Російська ракета: ілюстративне фото | Фото: Міністерство оборони РФ

Пристрій зможе стріляти снарядами калібру 122 мм, обходити перешкоди, коригувати координати в польоті, запевняють росіяни.

Російський розробник Анатолій Криштоп запатентував гібридний реактивний керований боєприпас, що поєднує функції ракети і безпілотного літального апарату. Подробиці передає інформаційне агентство ТАСС.

Згідно з документом, розміщеним на сайті Федерального інституту промислової власності, гібридний реактивний керований боєприпас поєднує властивості безпілотного літака і ракети. Його корпус має аеродинамічну конфігурацію "безхвістка", стрілоподібні крила та елевони, а також вертикальний кіль із рулями напряму, акумуляторну батарею та систему управління з модулем самонаведення на ціль.

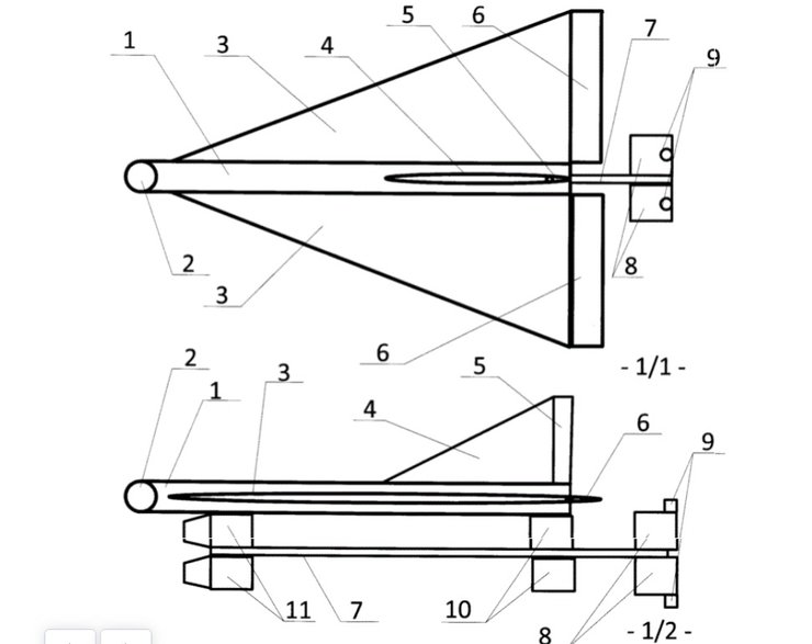
дрон, ракета, схема
Схематичне зображення дрона-ракети в патентних документах
Фото: fips.ru

У документі також повідомляється, що дрон-ракета має кріплення для 2-х снарядів калібру 122 мм для РСЗВ (РЗСВ — реактивна система залпового вогню, — ред.). Крім того, ГРУБ пропонується оснастити системою одночасного запуску реактивних двигунів снарядів, модулем самонаведення на ціль. Модуль цей, як передбачається, повинен мати функцію додаткового коригування координат і можливість отримувати додаткову інформацію про місцезнаходження цілі від інших дронів-розвідників. За задумом Криштопа, дрон-ракета повинен буде летіти на низькій висоті і обходити перешкоди.

Відео дня
Важливо
РФ поставить комплекс "Серп" на колісне шасі: чим він небезпечний для дронів ЗСУ (фото, відео)

Автор патенту повідомив, що в російській системі озброєнь немає крилатих ракет різного базування, які б відповідали б гібридному реактивному керованому боєприпасу, з його слів випливає, що його пристрій "унікальний".

Про можливості розробки керованого дрона-ракети поки що нічого не відомо.

Раніше ми писали про те, що ЗС РФ почали застосовувати "розумні" дрони з машинним зором. Машинний зір не має особливо спільного зі штучним інтелектом, проте "розумні" дрони можуть обходити РЕБ і самостійно долітати до цілі, розповів військовий аналітик Сергій Бескрестнов.