Изобретения, которые выглядят как шутка: самые странные патенты в истории (фото)

Человек собирает и тестирует электронное устройство на рабочем столе, самые странные патенты в истории
Абсурдные и даже комичные изобретения нередко проходят экспертизу и получают официальный статус | Фото: Freepik

Патентная система во всем мире задумывалась как механизм защиты инноваций, но со временем превратилась еще и в своеобразный архив человеческой фантазии. В патентных ведомствах США, Европы и Азии можно найти тысячи заявок, которые выглядят скорее как шутка, чем как технологический прорыв.

Юристы по интеллектуальной собственности часто подчеркивают, что патент не всегда является знаком качества или гарантией пользы, а всего лишь подтверждением того, что идея новая, которая не повторяет уже существующие. Именно поэтому странные, абсурдные и даже комичные изобретения нередко проходят экспертизу и получают официальный статус. О самых необычных в материале Фокуса.

Самые странные патенты — прогулка со змеей

Одним из самых обсуждаемых примеров является американский патент US6490999, который по сути представляет собой поводок для змеи. В документе детально объясняется, как закрепить устройство на теле рептилии так, чтобы не навредить ей и одновременно сохранить контроль над движением.

Схема устройства для выгула змеи на поводке, запатентованного в США
Патент на поводок для выгула змеи
Фото: Из открытых источников

На первый взгляд идея кажется нелепой, но эксперты отмечают, что патент выдается не за саму "прогулку", а за техническое решение проблемы управления экзотическим животным. Похожие случаи нередко разбирают западные патентные обозреватели, подчеркивая, что необычность идеи не является основанием для отказа в регистрации.

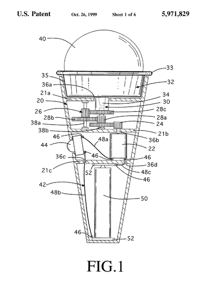
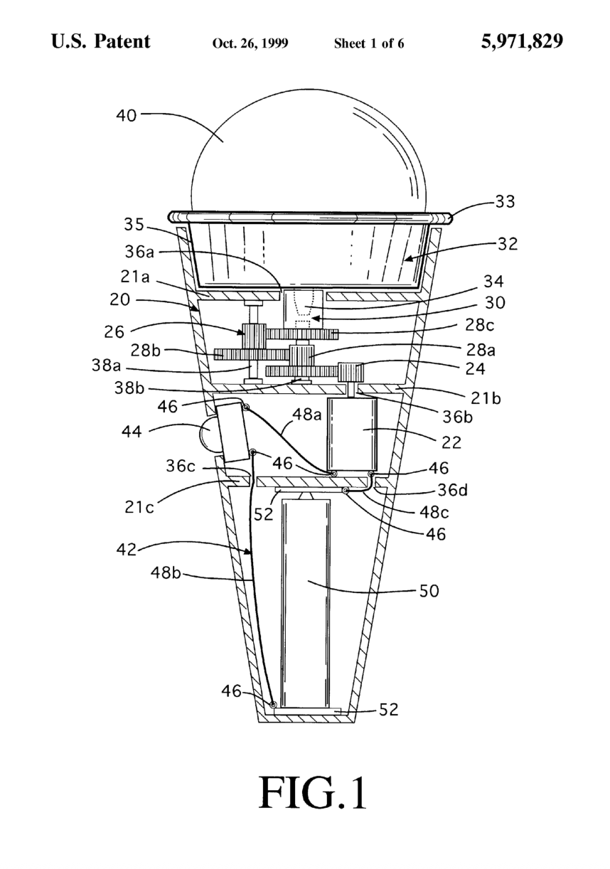
Самые странные патенты — автоматическое вращение мороженого

В списках самых необычных патентов регулярно всплывают устройства для автоматического вращения мороженого в рожке. Суть изобретения довольно такие проста. Создатели патента US5971829 хотят избавить человека от необходимости поворачивать десерт во время еды, чтобы он "не делал лишней работы".

Чертеж запатентованного устройства для автоматического вращения мороженого
В списках самых необычных патентов регулярно всплывают устройства для автоматического вращения мороженого
Фото: Из открытых источников

Юридические блоги и отраслевые СМИ подчеркивают, что подобные патенты демонстрируют крайности потребительской логики, когда даже минимальное усилие рассматривается как "техническая проблема".

Самые странные патенты — очки для кур

Очки для кур являются примером тех патентов, которые выглядят смешно, пока не узнаешь контекст. Первые версии таких приспособлений появились еще в начале 20 века и предназначались для снижения агрессии среди домашней птицы.

Иллюстрация очков для кур, разработанных для предотвращения агрессии и травм у птиц
Первые версии приспособлений для кур появились еще в начале 20 века
Фото: WIPO

Идея заключалась в том, чтобы слегка ограничить обзор, не причиняя вреда зрению. В результате куры стали меньше клевать друг друга и реже травмироваться. Западные сельскохозяйственные издания и материалы Всемирной организации интеллектуальной собственности (WIPO) отмечают, что этот патент стал ярким примером того, как странное с виду решение может иметь вполне практичную основу.

Самые странные патенты — колготки с "дополнительной" ногой

Патент US5713081 часто вспоминают, как один из самых странных, но официально зарегистрированных в модной индустрии. Речь идет о колготках с третьей ногой, которая нужна на случай если одна из обычных порвется. В описании говорится, что у изделия есть три ножные части. Лишняя нога аккуратно убирается в специальное место и не мешает при носке.

Если на одной из ног появляется зацепка или стрелка запасную часть можно сразу использовать. Для этого не нужно снимать колготки полностью, достаточно просто переставить ногу в целую часть и продолжить свой день, как ни в чем не бывало.

Схематичное изображение колготок с дополнительной запасной ногой для замены при повреждении
Лишняя нога аккуратно убирается в специальное место и не мешает при носке
Фото: Из открытых источников

В 2001 году американское издание ABC News писало что такой патент был оформлен, как решение простой бытовой проблемы. Допустим колготки порвались, а впереди важная встреча. По задумке автора достаточно лишь развернуть изделие и воспользоваться новой целой ногой.

Самые странные патенты — двойной велосипед

Одним из самых экзотичных примеров патентного креатива начала 20 века стал так называемый "двойной велосипед для прохождения петли", запатентованный в США в 1905 году берлинским изобретателем Карлом Ланге. В патентной заявке US790063A описано необычное транспортное средство с двумя парами колес. Нижние были предназначены для обычной езды, а верхние, расположенными над головой человека, должны были обеспечить движение по вертикальным петлям на цирковой арене или при выполнении трюков, когда велосипедист движется вверх ногами.

Чертеж двойного велосипеда Карла Ланге с дополнительными колесами для выполнения вертикальной петли
Одним из самых экзотичных примеров патентного креатива начала 20 века стал так называемый "двойной велосипед"
Фото: WIPO

Такая конструкция выглядела так, словно ее автор пытался перевернуть традиционный велосипед для акробатических трюков, подчеркивают патентные аналитики.

Записи Всемирной организации интеллектуальной собственности в серии "Weird and Wonderful Historical Patents" также включают этот двойной велосипед как яркий пример того, как изобретатели прошлого искали новые способы развлечения и демонстрации мастерства, не ограничиваясь практичными задачами.

Самые странные патенты — от моды до развлечений

Система патентования давно уже не ограничивается серьезными технологиями. В архиве Всемирной организации интеллектуальной собственности (WIPO) есть целые подборки необычных патентов.

Некоторые такие проекты были запатентованы еще в 19 веке, например:

  • Купальник из корка (1882), чтобы лучше держаться на воде;
  • Ванна-качалка (1900), предназначенная для "веселого купания";
  • Приспособление для салюта шляпой (1896) — устройство, автоматически поднимающее головной убор при приветствии.

Корпоративные патенты на грани фантастики

Отдельную категорию в мире странных патентов занимают заявки крупных технологических корпораций. В отличие от одиночных изобретателей, такие компании, как Google, IBM и Microsoft, используют патентную систему как инструмент стратегического прогнозирования. Их цель состоит не столько немедленный выпуск продукта, сколько закрепление потенциальных направлений развития технологий, даже если они пока выглядят как научная фантастика.

Иллюстрации футуристических роботов и дронов, напоминающие концепты странных и экспериментальных патентов
Отдельную категорию в мире странных патентов занимают заявки крупных технологических корпораций
Фото: Из открытых источников

Именно поэтому в патентных портфелях корпораций появляются концепции вроде часов-датчиков, способных определить стресс или угрозу для владельца и автоматически вызвать помощь, систем интерпретации мыслей на основе медицинских сканирований, а также идей превращения человеческого тела в источник энергии для электроники. Западные технологические СМИ неоднократно отмечали, что подобные патенты чаще всего отражают внутренние исследования и гипотезы, а не готовые к запуску продукты.

Юристы по интеллектуальной собственности подчеркивают, что для корпораций такие заявки работают как "страховка на будущее". Если направление внезапно станет коммерчески или научно востребованным, компания уже будет обладать юридическим приоритетом.

Ранее Фокус сообщал, что:

Также стало известно, что девушка решила отказаться от смартфонов и перешла на устаревшие телефоны. Британка также хочет отменить подписки на стриминговые сервисы и вернуться к технологиям прошлого.