Підтримайте нас

МИ В СОЦМЕРЕЖАХ:

Зменшений "Буратіно" чи "Солнцепек": в РФ показали роботизовану міні-РСЗВ (фото)

ТОС-1А Солнцепек ЗС РФ
ТОС-1А "Солнцепек" (фото ілюстративне) | Фото: РИА Новости

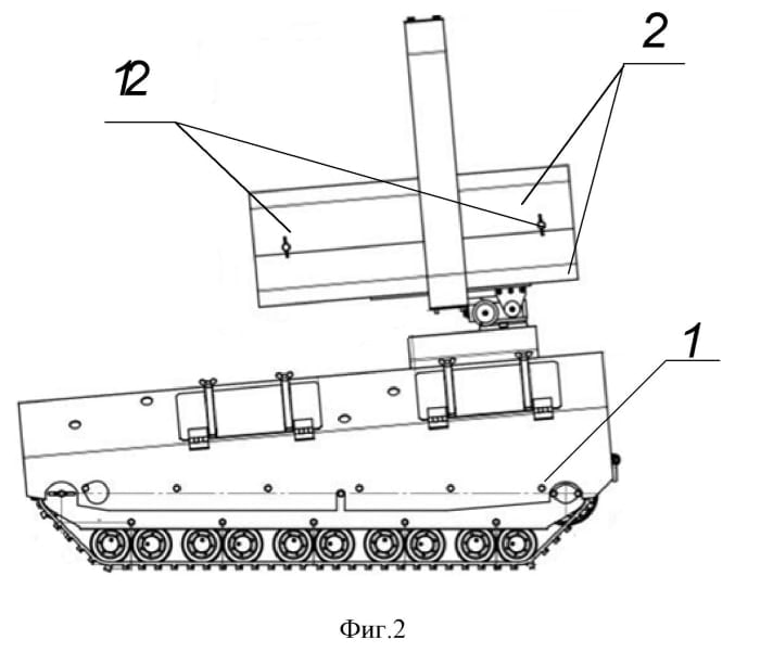
Російська компанія "Робототехнический инжиниринг" розробила новий бойовий модуль, який являє собою два металевих кожухи з ложами для одноразових реактивних вогнеметів.

Модуль призначений для розміщення на шасі наземного робототехнічного комплексу (НРК). Стрільба може вестися як і з усіх "стволів" одночасно, так і в заданому потрібному порядку, стверджує російський ресурс Btvt.info. У виданні описали систему, як "карликову" версію РСЗВ "Буратіно".

Наземний роботизований комплекс РФ
Новий НРК РФ

Повідомляється, що виробник також пропонує автономний режим роботи системи. При втраті радіозв'язку між пультом управління і НРК нібито здійснюється автоматичне управління на підставі отриманих супутникових даних і даних від IMU-сенсора, а також автоматичне наведення на ціль.

Новий російський НРК
НРК РФ
Новий російський НРК
НРК РФ

На розробку звернули увагу експерти порталу Defence Express, зазначивши, що на фото зображено типовий наземний дрон без протиуламкового захисту. Вони також припустили, що розташування пускової установки у задній частині платформи може створити проблеми зі стабільністю під час стрільби.

Відео дня
Важливо
Наземні дрони є, але не воюють: чому в ЗСУ скорочують роти НРК

Окрім того, експерти зауважили, що новий російський НРК не зовсім коректно називати зменшеним аналогом таких систем, як ТОС-1 "Буратіно" чи ТОС-1А "Солнцепек". Платформа використовує пускову для одноразових реактивних боєприпасів, типу гранатометів "Шмель", що суттєво відрізняє її від РСЗВ-вогнемета на танковому шасі, який використовує 220-мм термобаричні реактивні снаряди.

"В загальному ж, незалежно від того, чи піде сама розробка у виробництво, її концепт відповідає сьогоднішнім тенденціям розвитку НРК. При цьому така платформа могла б зменшити ризики для гранатометників, чиї вогнемети часто мають ефективну дальність у 300 метрів", — наголосили у виданні.

Нагадаємо, українська компанія "Роботизовані комплекси" представила на виставці IDEF 2025 у Стамбулі наземний безпілотний апарат "Тримінер" для мінування територій.

Фокус також повідомляв, що українська компанія Kvertus запускає в серійне виробництво модернізований наземний роботизований комплекс AD Berserk з функцією РЕБ.